WTZK-50-C船用压力式温度控制器
发布时间:2015-01-29 07:51:18 点击:1387

产品详细:
简介:
WTZK-50-C温度控制器采用带毛细管温包式的传感器。可用于对铜和铜合金无腐蚀作用的气体、蒸汽等气体介质或液体介质。控制器的设定值可调,调节范围-60~170℃。WTZK-50-C采用铸铝壳体,为防水型。WTZK-50-C温度控制器满足船用条件。WTZK-50采用酚醛压塑粉壳体,为普通型。
主要技术性能:

规格:切换差可调

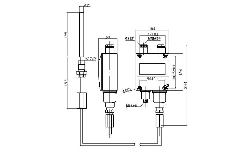
尺寸图

下一篇:YWK-50-C船用压力控制器
